Haas-Sohn Viterbo 3 275.15 røgvenderplade foran
røgvenderplade / vendeplade / venderplade / røgvendeplade
669,63 kr.*
                                            
                            Indhold:
                        
                    
                                            
                            1  Stykke
                        
                    
                                    
                        
                            
                            
                    Varenummer:
                
            
                            
                
                    01017426
                
                    
                        
    
                                Tilgængelig, leveringstid: 4-6 dage
                                                                    Lignende produkter
                                                            
                            
                        
                                                 843,91 kr.*
                                            
                                        
                                                                            
                                                 309,69 kr.*
                                            
                                        
                                                                            
                                                 304,86 kr.*
                                            
                                        
                                                                            
                                    
                    Varenummer:
                
            
                                    
                
                    01017426
                
                            
                    
        
    
                        
                        
    
    Produktinformation "Haas-Sohn Viterbo 3 275.15 røgvenderplade foran"
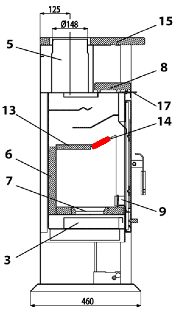
original røgvenderplade foran til brændeovn Haas-Sohn Viterbo 3 275.15
Haas-Sohn Viterbo 3 275.15 røgvenderplade foran nøgledata:
- vendeplade, venderplade
- mål (B/L/H) 80 mm x 420 mm x 25 mm
- materiale chamotte
- position 14 i den eksploderede visning
                                                                                                        Eigenschaften "Haas-Sohn Viterbo 3 275.15 røgvenderplade foran"
                                                            
                                            
                                                                | Leverandør: | Haas-Sohn | 
|---|---|
| Typ: | 275.15 | 
| materiale: | chamotte | 
| modell: | Viterbo 3 | 
| type af reservedel: | røgvenderplade | 
EU's repræsentant
Haas + Sohn Ofentechnik GmbHUrstein Nord 67
5412 Puch
AT
info@haassohn.com
_400x400.webp?ts=1757318842) 
                                    _400x400.webp?ts=1757318576) 
                                    _400x400.webp?ts=1757319741) 
                                    _400x400.webp?ts=1757319902) 
                                    _400x400.webp?ts=1757318666) 
                                    _400x400.webp?ts=1757318492) 
                                    _400x400.webp?ts=1757320201) 
                                    _400x400.webp?ts=1757320249) 
                                     
                                         
                                         
                                         
                                         
                
        
                        