Gå til hovedindhold Spring til søgning Gå til hovednavigation
Gratis forsendelse fra 2975 Kr.
Servicepartner for over 50 producenter
Over 40.000 reservedele i sortimentet
+10 års erfaring

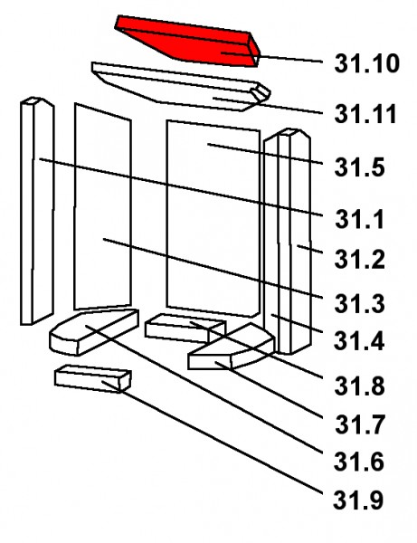
Oranier Pori 5 røgvenderplade oven B

røgvenderplade /  vendeplade / venderplade / røgvendeplade

 

Produktinformation "Oranier Pori 5 røgvenderplade oven B"

original røgvenderplade oven B til brændeovn Oranier Pori 5

  • Der findes forskellige murstensbeklædninger til denne model. Se venligst målene på murstenene til forbrændingskammeret.
  • Erfaringsmæssigt er denne sten i brændkammeret installeret i forbrændingskammeret, som har følgende karakteristiske egenskaber: Forreste gulvsten (134x51x30 mm), venstre gulvsten (93 x 157/267 x 30 mm), venstre forreste sidesten (90 x 448/480 x 25 mm).

Oranier Pori 5 røgvenderplade oven nøgledata:

  • venderplade, røgvendeplade
  • mål (B/L/H) 280 mm x 170 mm x 25 mm
  • materiale vermiculit
  • position 31.10 i den eksploderede visning
Eigenschaften "Oranier Pori 5 røgvenderplade oven B"
Leverandør: Oranier
Typ: 5
materiale: vermiculit
modell: Pori
type af reservedel: røgvenderplade

EU's repræsentant

Oranier Heiztechnik GmbH
Oranier Straße 1
35708 Haiger
DE
info@oranier.com

Leverandør

Oranier


DE

Lignende produkter

Oranier Pori 5 glas B
original glas B til brændeovn Oranier Pori 5 Der findes forskellige visningspaneler til Pori 5. Orienter dig venligst om dimensionerne på udsigtsruden og indgrebet på din pejs. Passer til modellen med topunktslåsesystem (døren lukkes på to punkter på korpus) Oranier Pori 5 glas nøgledata: glaslåge, dørglas mål (B/L/H) 305 mm x 405 mm x 4 mm materiale glas form rektangulær varmebestandig
Produktnummer: 01000250

1.558,87 kr.*

Leveringstid ca. 2-3 uger

Oranier Pori 5 røgvenderplade nede B
original røgvenderplade nede B til brændeovn Oranier Pori 5 type 4671 Der findes forskellige murstensbeklædninger til denne model. Se venligst målene på murstenene til forbrændingskammeret. Erfaringsmæssigt er denne sten i brændkammeret installeret i forbrændingskammeret, som har følgende karakteristiske egenskaber: Forreste gulvsten (134x51x30 mm), venstre gulvsten (93 x 157/267 x 30 mm), venstre forreste sidesten (90 x 448/480 x 25 mm). Oranier Pori 5 type 4671 røgvenderplade nede nøgledata: vendeplade, røgvendeplade vermiculit sten mål (B/L/H) 350 mm x 159 mm x 25 mm materiale vermiculit position 31.11 i den eksploderede visning
Produktnummer: 01016163

291,26 kr.*

Tilgængelig, leveringstid: 4-6 dage

Oranier Pori 5 rysterist
original rysterist til brændeovn Oranier Pori 5 Match venligst dimensionerne på forhånd Oranier Pori 5 rysterist nøgledata: rist, ildrist mål (B/L/H) 135 mm x 135 mm x 30 mm materiale støbning
Produktnummer: 01016600

411,98 kr.*

Tilgængelig, leveringstid: 4-6 dage

Kun 7 på lager!
Oranier Pori 5 dørpakning B
dørpakning B til brændeovn Oranier Pori 5 Der findes forskellige dørtætninger til denne brændeovn. Orienter dig venligst om formen på din nuværende tætningsledning Vi anbefaler et klæbemiddel og en ekstra fugemasse for at forhindre, at enderne flosser. Oranier Pori 5 dørpakning nøgledata: dørsnor, pakning hul pakning længde 3,00 m diameter 9,5 mm
Produktnummer: 01019057

Indhold: 3 meter (88,15 kr.* / 1 meter)

264,46 kr.*

Tilgængelig, leveringstid: 4-6 dage

Kun 1 på lager!
Oranier Pori 5 skamolsæt
original skamolsæt til brændeovn Oranier Pori 5 type 4671 Der findes forskellige murstensbeklædninger til denne model. Se venligst målene på murstenene til forbrændingskammeret. Et slående træk ved denne foring af brændkammeret er kombinationen af følgende sten: Gulvsten foran (134 x 51 x 30 mm), gulvsten til venstre (93 x 157/267 x 30 mm), sidesten til venstre foran (90 x 450/480 x 25 mm). 11-styks sæt Oranier Pori 5 type 4671 skamolsæt nøgledata: Materiale vermiculit Slibesten foran (134 x 51 x 30 mm), slebet sten bagside (135 x 69 x 30 mm) Nederste sten til højre (93 x 267 x 30 mm), nederste sten til venstre (93 x 267 x 30 mm) Sidesten venstre foran (90 x 448/480 x 25 mm), sidesten venstre bag (102 x 398/448 x 25 mm) Forreste højre sidesten (90 x 448/480 x 25 mm), bageste højre sidesten (102 x 398/448 x 25 mm) Bagvægsten perforeret (178 x 400 x 25 mm) kabelafbøjning over (175/280 x 170 x 25 mm), kabelafbøjning under (159 x 350 x 25 mm)
Produktnummer: 01019690

1.887,13 kr.*

Tilgængelig, leveringstid: 4-6 dage

Oranier Pori 5 pakning glas B
pakning glas B til brændeovn Oranier Pori 5 Passer til modellen med topunktslåsesystem (døren lukkes på to punkter på korpus) Oranier Pori 5 pakning glas nøgledata: 2 dele Flad pakning, side/bund Mål 10x2mm Længde 2m selvklæbende Punkterne 1.1 og 1.3 i eksplosionsbilledet Flad pakning, ovenover Mål 17x2mm længde 1 m selvklæbende Position 1.4 i eksploderet billede
Produktnummer: 01023074

Indhold: 3 meter (55,37 kr.* / 1 meter)

166,12 kr.*

Tilgængelig, leveringstid: 4-6 dage