Gå til hovedindhold Spring til søgning Gå til hovednavigation
Gratis forsendelse fra 2975 Kr.
Servicepartner for over 50 producenter
Over 40.000 reservedele i sortimentet
+10 års erfaring

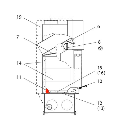
Wodtke HK 04 bundsten bagved

bundsten /  brandkammersten / ildkammersten / nederste sten / gulvsten

 

Produktinformation "Wodtke HK 04 bundsten bagved"

original bundsten bagved til varmeindsats Wodtke HK 04

  • Producenten har indstillet produktionen af denne vare. Hvis vi har et restlager, kan du få denne reservedel hos os.

Wodtke HK 04 bundsten bagved nøgledata:

  • nederste sten, gulvsten
  • mål (B/L/H) 345 mm x 45 mm x 65 mm
  • materiale chamotte
  • position 11 i den eksploderede visning
Eigenschaften "Wodtke HK 04 bundsten bagved"
Leverandør: Wodtke
Typ: 04
materiale: chamotte
modell: HK
type af reservedel: bundsten

EU's repræsentant

wodtke GmbH
Rittweg 55 - 57
D-72070 Tübingen-Hirschau
DE
info@wodtke.com

Lignende produkter

Udsolgt
Wodtke HK 04 røgvenderplade nede
original røgvenderplade nede til brændeovn Wodtke HK 04 Producenten har indstillet produktionen af denne vare. Hvis vi har et restlager, kan du få denne reservedel hos os. Wodtke HK 04 røgvenderplade nede nøgledata: venderplade, røgvendeplade position 7 i den eksploderede visning
Produktnummer: 01008471

876,20 kr.*

ikke længere tilgængelig, produktion indstillet

Kun 6 på lager!
Wodtke HK 04 rysterist
original rysterist til brændeovn Wodtke HK 04 Wodtke HK 04 rysterist nøgledata: askerist, støbejernsrist mål (B/L/H) 270 mm x 243 mm x 15 mm materiale støbning
Produktnummer: 01036994

1.190,53 kr.*

Tilgængelig, leveringstid: 4-6 dage

Wodtke HK 04 skamolsæt
original skamolsæt til varmeindsats Wodtke HK 04 11-styks sæt Wodtke HK 04 skamolsæt nøgledata: Brændkammersten, brændkammersten materiale chamotte Gulvsten højre (110 x 245 x 40 mm) Gulvsten i midten (240 x 265 x 25 mm) Sidesten nederst til venstre (355 x 165 x 38 mm), sidesten nederst til højre (355 x 165 x 38 mm) Sidesten i midten til venstre (355 x 165 x 38 mm), sidestenen i midten til højre (355 x 165 x 38 mm) Sidesten øverst til venstre (355 x 165 x 38 mm), sidesten øverst til højre (355 x 165 x 38 mm) Bagvægssten i bunden (355 x 165 x 38 mm), bagvægssten i midten (355 x 165 x 38 mm) Bagvægssten øverst (355 x 165 x 38 mm) Produktion stoppet Gulvsten foran, Gulvsten venstre, Gulvsten bag
Produktnummer: 01037987

6.556,88 kr.*

Leveringstid ca. 2-3 uger