Wodtke KK 80-1 røgvenderplade nede
røgvenderplade / vendeplade / venderplade / røgvendeplade
685,65 kr.*
                                            
                            Indhold:
                        
                    
                                            
                            1  Stykke
                        
                    
                                    
                        
                            
                            
                    Varenummer:
                
            
                            
                
                    01037940
                
                    
                        
    
                                ikke længere tilgængelig, produktion indstillet
                                                                    Lignende produkter
                                                            
                            
                        
                                                 358,30 kr.*
                                            
                                        
                                                                            
                                                 226,38 kr.*
                                            
                                        
                                                                            
                                    
                    Varenummer:
                
            
                                    
                
                    01037940
                
                            
                    
        
    
                        
                        
    
    Produktinformation "Wodtke KK 80-1 røgvenderplade nede"
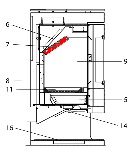
original røgvenderplade nede til brændeovn Wodtke KK 80-1
- Producenten har indstillet produktionen af denne vare. Hvis vi har et restlager, kan du få denne reservedel hos os.
Wodtke KK 80-1 røgvenderplade nede nøgledata:
- vendeplade, røgvendeplade
- mål (B/L/H) 195/185 mm x 320/290 mm x 30 mm
- materiale vermiculit
- position 7 i den eksploderede visning
                                                                                                        Eigenschaften "Wodtke KK 80-1 røgvenderplade nede"
                                                            
                                            
                                                                | Leverandør: | Wodtke | 
|---|---|
| Typ: | 80-1 | 
| materiale: | vermiculit | 
| modell: | hjørne | 
| type af reservedel: | røgvenderplade | 
EU's repræsentant
wodtke GmbHRittweg 55 - 57
D-72070 Tübingen-Hirschau
DE
info@wodtke.com
_400x400.webp?ts=1757318842) 
                                    _400x400.webp?ts=1757318576) 
                                    _400x400.webp?ts=1757319741) 
                                    _400x400.webp?ts=1757319902) 
                                    _400x400.webp?ts=1757318666) 
                                    _400x400.webp?ts=1757318492) 
                                    _400x400.webp?ts=1757320201) 
                                    _400x400.webp?ts=1757320249) 
                                     
                                         
                                         
                
        
                         
                
        
                         
                
        
                        