Gå til hovedindhold Spring til søgning Gå til hovednavigation
Gratis forsendelse fra 2975 Kr.
Servicepartner for over 50 producenter
Over 40.000 reservedele i sortimentet
+10 års erfaring

Haas-Sohn Bergen II 167.15 rysterist

rysterist /  askerist / rist / støbejernsrist / ildrist / brandkammerrist

 

Produktinformation "Haas-Sohn Bergen II 167.15 rysterist"

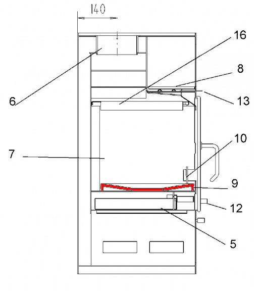
original rysterist til brændeovn Haas-Sohn Bergen II 167.15

Haas-Sohn Bergen II 167.15 rysterist nøgledata:

  • ildrist, brandkammerrist
  • mål (B/L/H) 397 mm x 330 mm x 26 mm
  • materiale støbning
  • position 9 i den eksploderede visning
Eigenschaften "Haas-Sohn Bergen II 167.15 rysterist"
Leverandør: Haas-Sohn
Typ: 167.15
materiale: støbning
modell: Bergen II
type af reservedel: rysterist

EU's repræsentant

Haas + Sohn Ofentechnik GmbH
Urstein Nord 67
5412 Puch
AT
info@haassohn.com

Lignende produkter

Haas-Sohn Bergen II 167.15 glas
original glas til brændeovn Haas-Sohn Bergen II 167.15 Haas-Sohn Bergen II 167.15 glas nøgledata: glaslåge, vindue mål (B/L/H) 340 mm x 280 mm x 4 mm position 15 i den eksploderede visning
Produktnummer: 01043977

1.429,12 kr.*¹

Leveringstid ca. 2-3 uger

Kun 1 på lager!
Haas-Sohn Bergen II 167.15 røgvenderplade
original røgvenderplade til brændeovn Haas-Sohn Bergen II 167.15 Haas-Sohn Bergen II 167.15 røgvenderplade nøgledata: venderplade, røgvendeplade mål (B/L/H) 425 mm x 280 mm x 5 mm materiale støbning position 16 i den eksploderede visning
Produktnummer: 01043979

1.125,99 kr.*¹

Tilgængelig, leveringstid: 4-6 dage